凯时
凯时
首页
部分概况
部分职责
机构设置
通知通告
专项简报
规章制度
国家规则
地方规则
学校文件
部分文件
事情流程
基建流程
专项流程
表格下载
基建表格
专项表格
校园妄想
建设效果
学校首页
首页
部分概况
部分职责
机构设置
通知通告
专项简报
规章制度
国家规则
地方规则
学校文件
部分文件
事情流程
基建流程
专项流程
表格下载
基建表格
专项表格
校园妄想
建设效果
学校首页
目今位置:
首页
>
事情流程
>
基建流程
基建流程
事情流程
基建流程
专项流程
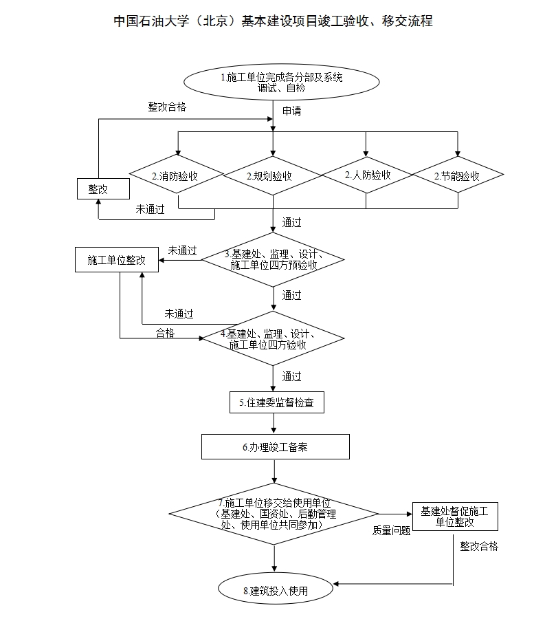
凯时(北京)基本建设项目完工验收、移交流程
作者: 宣布日期:2016-05-20
相关附件
友情链接
教育部
北京市妄想和自然资源委员会
北京市住房和城乡建设委员会
版权所有:凯时(北京)基建处
地点:北京市昌平区府学路18号 102249
TOP
【网站地图】
【sitemap】